高尔夫球面内管?Rockshox前叉自润滑专利
发布时间: 2025-11-14
在最近的普莱西德湖 DH 世界杯上, Rockshox Boxxer 原型前叉上的“草皮”引发了外界的猜想。通过SRAM最新的专利介绍可以了解到,表面坑洼的“草皮”是出于前叉润滑目的,具有分配润滑剂功能。
FOX前叉外筒设有回流油路
ND Tuned铝套的内表面
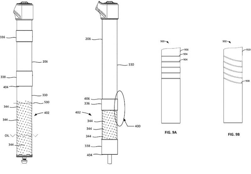
衬套上刻有通道以帮助润滑滑动表面的情况并不少见。长期以来,制造商一直在实施有助于保持前叉在使用过程中尽可能零摩擦的解决方案,其优点是提高了小颠簸灵敏度和耐用性。Fox 在叉桶上设计的独特小通道就是例子一。当下叉筒内的空间在压缩时减少时,允许油流回前叉腿,这个设计在 Fox 38、36、36 SL 和 34 前叉都有采用。为了减少内管和衬套之间的摩擦,FOX的一项专利甚至提议使用包含滚珠轴承的衬套,这样的设计很可能需要大幅增加叉筒直径。ND Tuned 则是在装有阻尼的铝套筒中蚀刻螺旋凹槽,作为衬套的润滑通道。
回到新的 Rockshox Boxxer:事实上,内管上的凹坑也是类似道理,目的是将油输送到衬套上,以尽可能无摩擦的方式保持润滑。与该设计相关的专利还展示了针对衬套润滑问题的各种其他解决方案,包括切入衬套本身的螺旋通道。

编辑:滨